В16 Программа функциональных испытаний блокировки при нарушениях в цепях напряжения для сетей 6-35 кВ
В данном примере реализована модель тестовой сети для выполнения функциональных испытаний блокировки при нарушениях в цепях напряжения для сетей 6-35 кВ из приложения В16 СТО 56947007-29.120.70.241-2017. Технические требования к микропроцессорным устройствам РЗА. Перед проведением испытаний, на математической модели проводится расчет мгновенных значений вторичный токов и напряжений. Расчет производятся для различных видов нарушений (повреждений) во вторичных цепях ТН (короткие замыкания и обрывы), а также при повреждениях на первичной стороне. Результаты расчета мгновенных значений записываются в файл унифицированного формата Comtrade по стандарту IEC 60255-24. Для каждого вида нарушения формируется отдельный файл.
В процессе проведения испытаний, сформированные Comtrade файлы, преобразуются испытательной установкой в аналоговую форму и подводятся к испытуемому устройству по типу РЕТОМ.
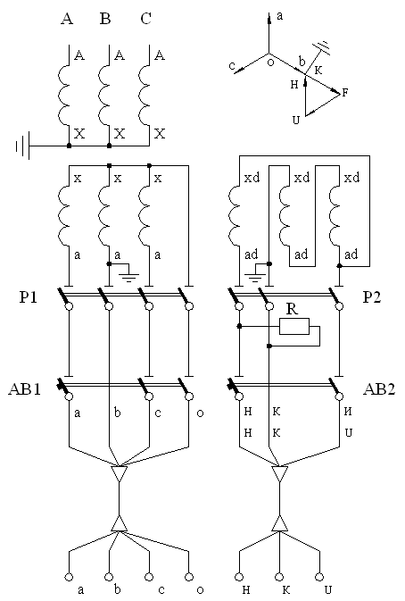
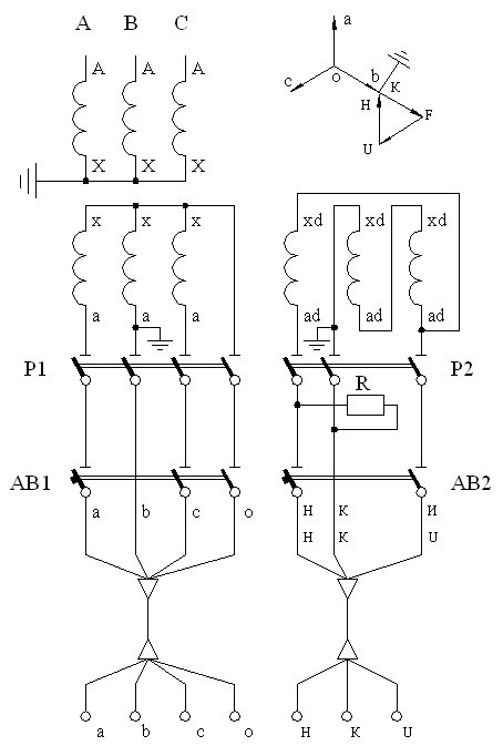
Схема трансформатора напряжения:

Параметры энергосистемы:
Активное сопротивление прямой последовательности – 3,77 Ом
Индуктивное сопротивление прямой последовательности – 35,53 Ом
Эквивалентная ЭДС– 37,72 кВ (Фаза А - 99%, Фаза В - 101%, Фаза С - 100%)
Фазовый угол ЭДС– 0°
Параметры ВЛ:
Длина 30 км
Полное сопротивление линии прямой последовательности 9 + j 0,4155 Ом/км
Трансформатор напряжения:
Sном = 1200 ВА
Номинальное фазное напряжение первичной обмотки - 35/√3 кВ
Номинальное фазное напряжение основной вторичной обмотки - 100/√3 В
Номинальное фазное напряжение дополнительной вторичной обмотки - 100/3 В
Суммарное полное сопротивление ТН – 0,1687 Ом
Суммарное активное сопротивление ТН – 0,1089 Ом
Активное сопротивление антирезонансного резистора – 25 Ом
Цепи основных обмоток:
Сопротивление фазной жилы - 0,0703 Ом
Сопротивление нулевой жилы - 0,1406 Ом
Ёмкость между жилами - 30 нФ
Сопротивление изоляции между жилами – 20 МОм
Цепи дополнительных обмоток:
Сопротивление жилы - 0,293 Ом
Ёмкость между жилами - 11 нФ
Сопротивление изоляции между жилами – 20 МОм
Вторичная нагрузка ТН:
Основные обмотки: 100 Вт – на фазу А, 110 Вт – на фазу В и 95 Вт – на фазу С, нагрузка на 50% мощности включена на фазные напряжения, на 50% мощности – на линейные напряжения.
Дополнительные обмотки:
выводы Н и К (UНК) – 10 Вт при напряжении 100 В
выводы Н и U (UНU) – 0,5 Вт при напряжении 33,3 В
выводы U и К (UUК) – 0,5 Вт при напряжении 33,3 В
Трансформатор тока:
nт= 300/5 А
W1 = 1
W2 = 60
R1 = 0,3 мОм
Х1 = 0 Ом
R2 = 0,45 Ом
Х2 = 0 Ом
Rн = 1,2 Ом
Формирование COMTRADE файлов
Функциональные испытания блокировки при нарушениях в цепях напряжения проводятся на основе файлов формата Comtrade в которые записаны результаты расчета мгновенных значений токов и напряжений из модели.
Формирование COMTRADE файлов осуществляется с помощью блока To COMTRADE. Подробный пример использования и настройки данного блока имеется в Сообществе Engee.
Для генерации сигналов используется модель, содержащая эквивалент энергосистемы, шины подстанции с отходящей линией электропередачи, трансформатор напряжения (ТН), подключенный к шинам и трансформатор тока (ТТ) линии, проводится расчет мгновенных значений вторичный токов и напряжений. Внешний вид модели:

В модели реализован блок управления опытами, он расположен в левой части модели. Для настройки опыта необходимо самостоятельно выбрать необходимые коммутации в модели с помощью задания соответствующих значений констант. В блоке To COMTRADE необходимо изменить название формируемых файлов через параметр Files path в соответствии с текущим опытом. После настройки опыта и запуска модели файлы COMTRADE будут автоматически записаны в текущую папку.